拍卖成功!河南省 郑州市一个155联通手机尾号为44444的使用权,你会买吗?
来源:手机号码 编辑:选选号 发布时间:2021-01-11

拍卖成功!一个联通155XXX44444手机号码,在淘宝阿里司法拍卖平台拍卖成交。
成交时间:2020/05/07 10:07:263次延时
参与人数:11 人报名200 人设置提醒5605 次围观

一、拍卖标的:
逯某名下155XXX44444手机号码。
1.该卡号后5位为5个4连号,数字排列较为通顺,寓意较好,市场较为紧俏;
2.根据委托方提供的号码查询套餐信息显示:该号码卡类型为暢越全国冰激凌套餐-78元档(资费78元/月,包含400分钟国内语音,国内接听免费,赠送来电显示;套餐外拨打0.15元/分钟,国内短信0.1元/条)无低消。
3.起拍价3.51万元,保证金:3000元,增价幅度:500元。
4.评估基准日:2020年01月15日。

处置单位:杞县人民法院
标的物名称:155XXX44444手机号码
网拍公告时间:2020/04/15 16:27:54
网拍开始时间:2020/05/06 10:00:00
网拍结束时间:2020/05/07 10:07:26

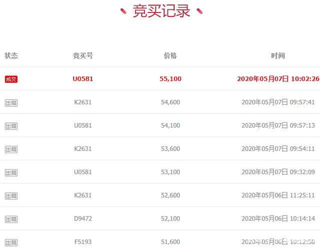
二、网络拍卖竞价结果
用户姓名邢某通过竞买号U0581于2020年05月07日在杞县人民法院于阿里拍卖平台开展的“155XXX44444手机号码”项目公开竞价中,以最高应价胜出。
该标的网络拍卖成交价格:55100(伍万伍仟壹佰元)

在网络拍卖中竞买成功的用户,必须依照标的物《竞买须知》、《竞买公告》要求,按时交付标的物网拍成交余款、办理相关手续。
标的物最终成交以杞县人民法院出具拍卖成交裁定为准。
如果你有不同的看法,欢迎评论留言,你的观点对我很重要。如果喜欢我,就关注我吧
- 头条资讯
- 联通手机尾号
深圳移动FTTR套餐有哪些优势和弊端
深圳移动FTTR套餐的优势和弊端分析如下:优势全屋光纤覆盖,信号稳定:FTTR(Fiber to The Room)技术将光纤铺设到家庭的每个房间,实现了全屋Wi-Fi6千兆全覆盖。这确保了无论在哪个房间,用户都能享受到稳定、高速的网络连接。
关键词: 深圳移动FTTR套餐
深圳联通FTTR套餐有哪些优势和弊端
深圳联通FTTR套餐的优势和弊端分析如下:优势全屋光纤覆盖,信号无死角:FTTR技术通过光纤到房间的方式,实现了全屋网络覆盖,信号无盲区。无论在哪个房间,用户都能享受到稳定、高速的网络连接。
关键词: 深圳联通FTTR套餐
深圳电信FTTR套餐有哪些优势和弊端
深圳电信FTTR套餐的优势和弊端分析如下:优势超带宽与低延迟:FTTR(Fiber to The Room)技术通过将光纤铺设到每个房间,实现了全屋光纤覆盖,提供了超高的网络带宽。光纤传输速度快,延迟低,能够满足高清视频、大型游戏、云计算等高带宽应用的需求。
关键词: 深圳电信FTTR套餐
情人节送什么礼物好,来个手机靓号给Ta个惊喜
送一个手机靓号作为情人节礼物确实是一个独特且富有创意的想法,这样的礼物不仅实用,还能给TA带来一份特别的惊喜。不过,在选择和赠送手机靓号时,有几点需要注意:
电信优享版49元套餐资费详情
在电信流量卡市场中,随着产品的更新换代,一些旧套餐可能会逐渐下架,而新的套餐则会应运而生。针对您提到的电信19元流量卡已下架的情况,新推出电信优享版49元套餐的
关键词: 电信新星卡 电信19元流量卡套餐
联通卡19元无限流量卡,真的有吗?
联通卡19元无限流量卡,真的有吗?联通19元无限流量卡是最近网上比较火热的一个话题,很多人都想知道这款卡到底是否存在,是否真的可以做到无限流量。
关键词: 联通卡19元无限流量卡
2024北京电信宽带套餐价格表 北京电信宽带套餐价格表2024年
2024北京电信宽带套餐价格表 北京电信宽带套餐价格表2024年,电信宽带2024最新套餐为:1、169元套餐,500兆光纤40G800分钟。2、239元套餐,千兆光纤和80G流量,还有1000分钟国内通话。
关键词: 北京电信宽带 电信宽带办理电话 电信宽带套餐2024
手机号码归属地查询方法-怎么查
手机号码归属地查询方法怎么查?如果手机较先进的话,只要有电话拨打自己的号码都可以看到归属地的,但是还是有部分的手机是不显示的,那么对于不显示的手机,怎么才能知道该手机号码的归属地呢?
关键词: 手机号码归属地查询方法
洛阳联通5g套餐资费详情(2024资费套餐一览表)
洛阳联通5g套餐资费一览表,目前洛阳地区可以选择的5g套餐有一下档次可以供您选择,可以根据个人月消费情况进行自由选择5g网络服务,开启5G网速,2024资费套餐一览表。
关键词: ?洛阳联通5g套餐资费详情




